praleisti iki pagrindinio teksto

Spausdinamieji diskai

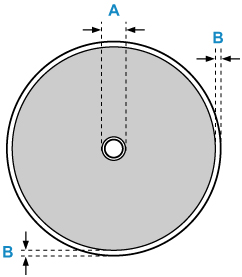
Spausdinamojo disko spausdinimo sritis yra nuo 17 mm (0,67 col.) nuo vidinio iki 1 mm (0,04 col.) nuo išorinio spausdinamojo paviršiaus krašto.

Spausdinimo sritis

  • A: 17,0 mm (0,67 col.)
  • B: 1,0 mm (0,04 col.)